Gracias la oficina de patentes del gobierno de Estados Unidos (USPTO), nos enteramos lo que podría ser el futuro del S Pen que ha acompañado las Galaxy Note desde el principio.
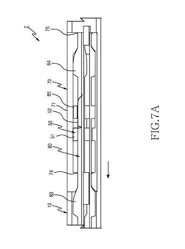
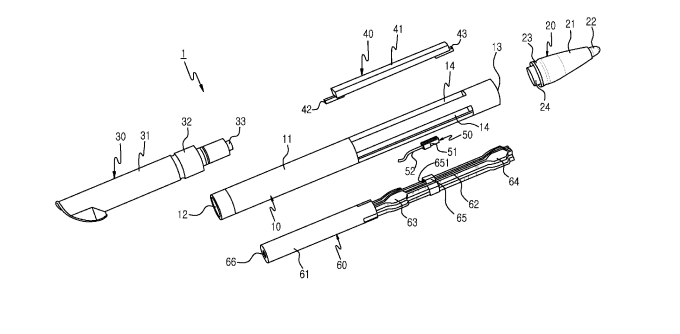
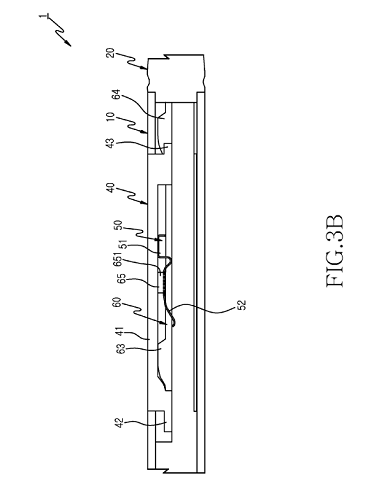
Según la información de USPTO, Samsung está trabajando en la posibilidad de que un próximo S Pen también sirva para comunicarse pues incluiría micrófono y altavoz. Según Samsung, el Stylus “funcionaria como substituto de un equipo inalámbrico” que permitiría al usuario “poner el Pen en un bolsillo de la camisa o algo parecido y comunicarse en una llamada telefónica usando el pen como base”.
Eso de ponerlo en el bolsillo de la camisa me recordó los logos en los uniformes de Star Trek que tocaban para comunicarse. Aunque para ser justo, todo lo que leo me recuerda de alguna manera a Star Trek. O Star Wars. Anyway, las imágenes de la patente parecen demostrar que la forma del S Pen también será rediseñada para un mejor agarre.
¿Qué les parece la idea de un Stylus que sirva para llamadas telefónicas?
[adrotate banner=”29″]
Podcastero, comediante, crítico de cine y TV miembro de la Critics Choice Association, crítico certificado en Rotten Tomatoes, y padre de gatos. Una vez cuando niño entré a un cine, y en cierta forma nunca salí.

1 Comment
Creo q esta chevere veremos a ver