
Las pantallas rotas por caídas en los iPhone pronto pudieran ser cosa del pasado si Apple finalmente decide poner en práctica la patente que le han aprobado recientemente en Estados Unidos. Según podemos leer en AppleInsider, la patente describe un sistema de airbags para proteger la pantalla, solo que en lugar de ser como las bolsas de aire en los autos, serán un sistema metálico.
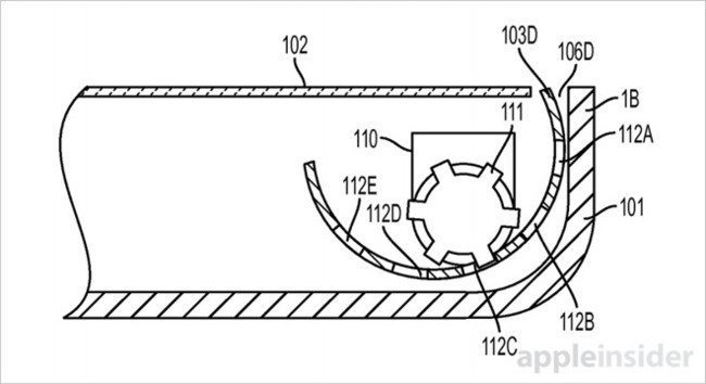
Aunque suena un tanto alocado, en realidad es posible. El sistema detectaría cuando el iPhone va en caída libre despliegue estas cuatro barras metálicas, una en cada esquina, para proteger la pantalla cuando el teléfono toque el piso. Actualmente sensores como los acelerómetros, giroscopios o hasta la propia cámara pudieran utilizarse para ello.
[g1_google_ad publisher_id=”1690579023414672″ slot_id=”7575094356″ format=”rectangle” align=”none”]
En las imágenes que acompañan esta nota, se describen cómo serían estas barras metálicas. Estas se activarían girando rápidamente gracias al engrane que llevan dentro.

Desde luego, siempre existen las carcasas o covers para proteger nuestro equipo, pero hay quienes (me incluyo) que gustan de llevar su teléfono sin ningún cover o con uno muy delgado para no dañar el diseño. La pregunta que quedaría es, si Apple logrará incorporar este sistema sabiendo que con cada modelo nuevo sus teléfonos son aún más delgados.

Por último, cabe señalar que la existencia de una patente no asegura que la veremos implementada, pero al menos podemos decir que Apple ha pensado en cómo hacer sus iPhones un poco más seguros. Veremos si este sistema de airbags metálicos se concretiza con el iPhone 7. Hasta entonces, quedamos pendientes.
¿Algo más que quieras agregar a esta nota?

[adrotate banner=”1″]
Founder & Commander-in-Chiief de QiiBO.com. Tras más de una década como publicista decidí seguir mi propio camino profesional. Ahora sigo el consejo de un genio, hago el trabajo que me gusta.
Comments are closed here.