Apple ha obtenido una nueva patente que describe lo que pudiera ser el primer accesorio para ese rumorado iPhone 8, un dock inteligente con carga inalámbrica y Siri.
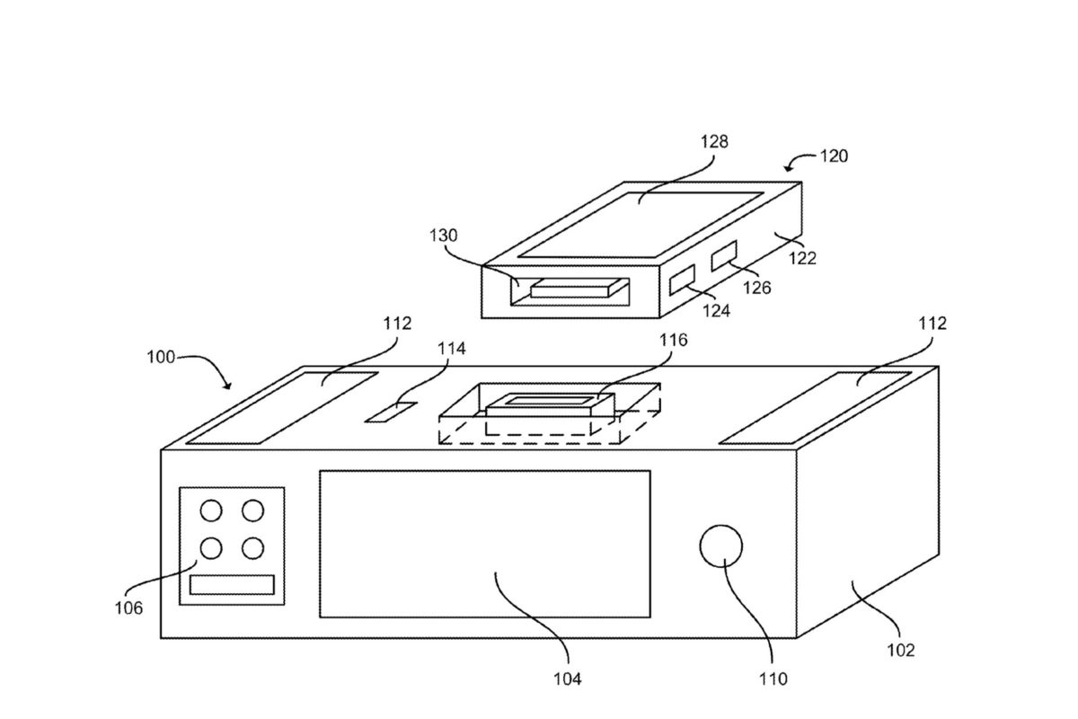
De acuerdo con The Verge, esta base o dock tendría la capacidad de cargar de forma inalámbrica al dispositivo. Lo interesante de esta base es que también incluiría a Siri, micrófonos, bocina y procesadores, convirtiéndolo así en el mejor compañero del anticipado iPhone 8. Recordemos que se espera que Apple lance tres nuevos iPhone este año con carga inalámbrica.
En concreto, la patente describe varios escenarios para un aparato que pudiera servir como base para un “dispositivo electrónico portable” (erm!… un iPhone. Obvio) capaz transferir energía al mencionado dispositivo de manera inalámbrica. De igual forma tendría la capacidad de reproducir música y entender comandos para Siri, entre otras funciones.
La patente fue registrada en el 2012, lo que significa que Apple ha estado pensando en ellos desde algún tiempo y, más aún, ha tenido tiempo suficiente para perfeccionar este producto.
Por mucho tiempo se ha rumorado que Apple estaría trabajando en una bocina inteligente y competir de tú a tú con el Amazon Echo y otros como el Google Home. Dicho producto fue presentado recientemente bajo el nombre de HomePod. Sin embargo, se trata más de una bocina que de un asistente doméstico. Su precio de $349 también lo separada en esta categoría. Sin embargo, un producto como el que se muestra en esta patente pudiera llenar ese hueco. Después de todo, Apple no tiene un producto así, que funcione para llevar a Siri al hogar sin tener que desembolsar cientos de dólares.
» También te recomendamos leer: iPhone 8 llegaría en septiembre, y su precio sobre pasaría los $1000, según analistas
Desde luego, se trata de pura especulación, pero es una que tiene mucho sentido. Por otro lado, hay que tener en cuenta que se trata de una patente y como tal no necesariamente significa que veremos este producto hecho realidad. Todo queda en Apple ahora.
Founder & Commander-in-Chiief de QiiBO.com. Tras más de una década como publicista decidí seguir mi propio camino profesional. Ahora sigo el consejo de un genio, hago el trabajo que me gusta.


Comments are closed here.